HomepageBeamless LiftElevator LiftPersonal WatercraftTopmount / 4-post LiftDominator Lifts

Beamless Installation Instructions


Please click on link to enlarge and Print


Installer is responsible for determining if pilings
are adequate to carry the lift and the lifts payload!


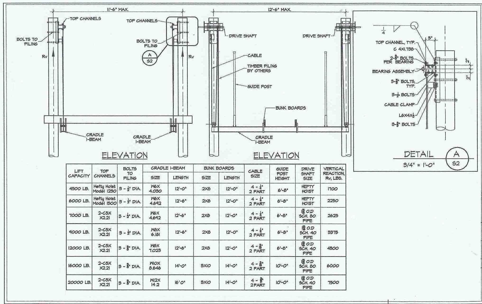
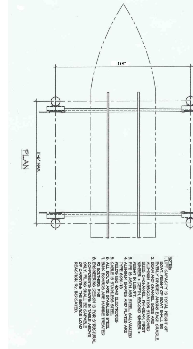
Beamless Pile Diagram 3-12K

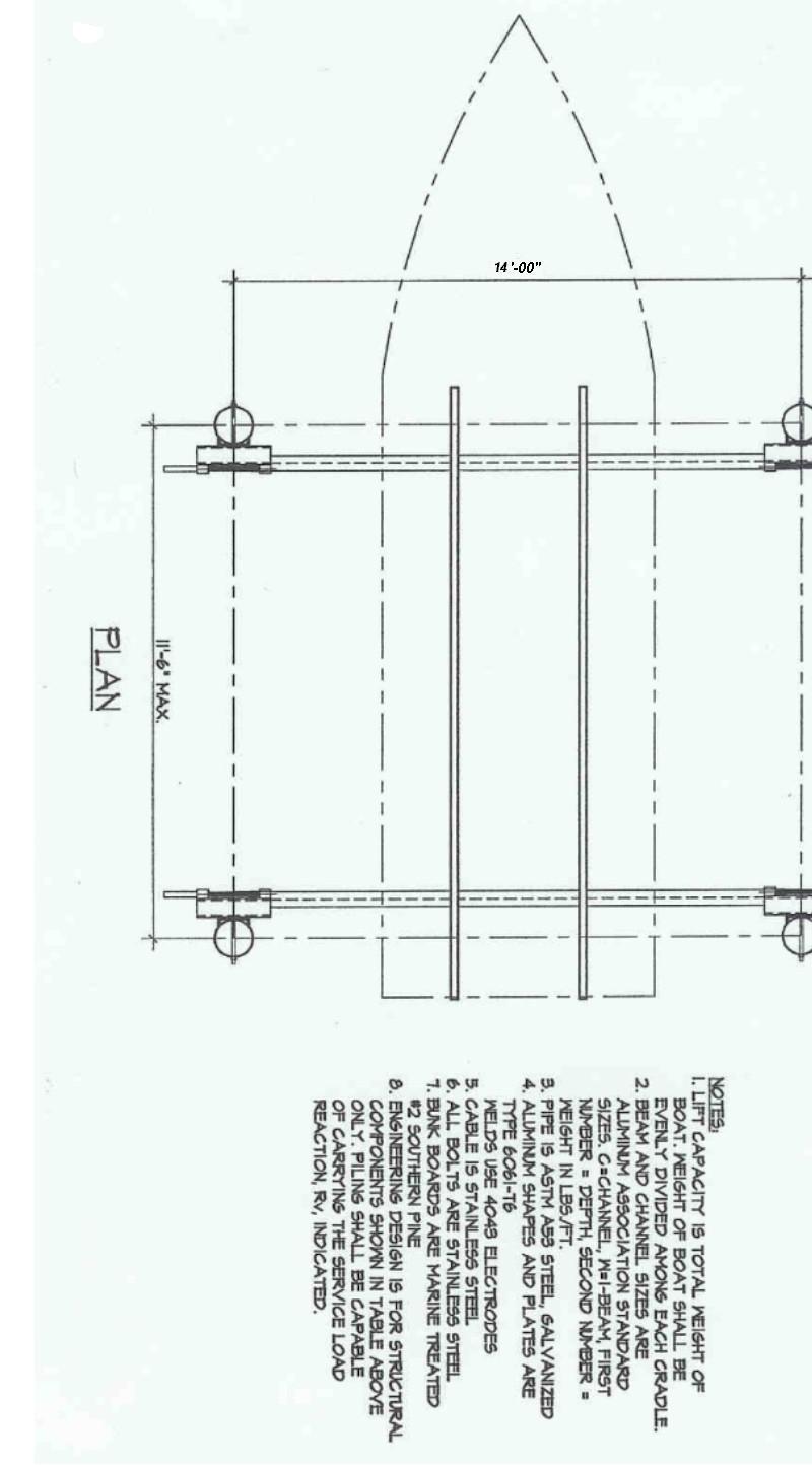
Beamless Pile Diagram 16-20K

Beamless Specs 4.5K-20K
beamins1.jpg (71729 bytes)

Steps
1-6

beamins2.jpg (71729 bytes)

Steps
6 & 7

beamless.jpg (71729 bytes)

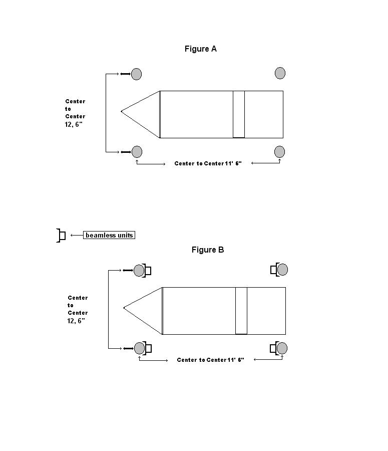
Figs.
A & B

beamless1.jpg (71729 bytes)

Figs.
C & D

beamless2.jpg (71729 bytes)

Fig.
E

beamles3.jpg (71729 bytes)

Fig.
F

beamles4.jpg (71729 bytes)

Fig.
G

deadmanb.jpg (71729 bytes)

2003
Deadman
Bracket

wire2.gif (71729 bytes)

Wire Diagram



Beamless Layout

Color photo of Deadman Bracket

Pasta 1

Pasta 2



Minimum Size copper wire For Full Power

0-50 FT0-50 FT50-100 FT50-100 FT100-200 FT100-200 FT200-300 FT200-300 FT300-400 FT300-400 FT
Motor HP115V230V115V230V115V230V115V230V115V230V
1/2 HP12---8---6---4---4---
3/4 HP121481061041036
1 HP10128104103826
1-1/2 HP8126838161/04

Maximum Voltage drop 4% for Full Power


For Tech Support e-mail Tech Support
Please keep in mind to handle your questions we prefer them to be in e-mail so that all of our staff has access and can help you.

To quicken the process if you can take pictures of the part or area you have questions on and send them to us. Having the pictures helps us clarify any questions due to the high volume of lifts we maufacture for different companies.